Product Summary
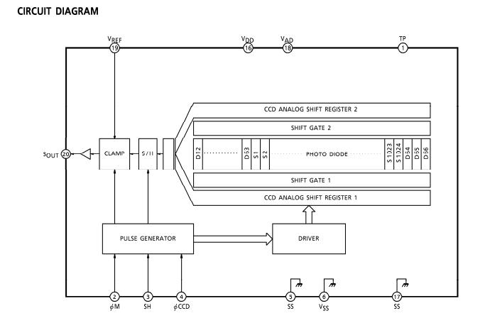
The TCD132D is a 1024-elements linear image sensor which includes CCD drive circuit and signal processing circuit. The CCD drive circuit consists of the pulse generator and the CCD driver; therefore the TCD132D is posible to get easy drive by applying simple pulses. The signal processing circuit which consists of the clamp circuit and S/H circuit and pre-amplifier.
Parametrics
TCD132D absolute maximum ratings: (1)master clock voltage:-0.3V to 15V; (2)CCD clock voltage:-0.3V to 15V; (3)shift pulse voltage:-0.3V to 15V; (4)reference voltage:-0.3V to 15V; (5)power supply voltage(analog):-0.3V to 15V; (6)power supply voltage(digital):-0.3V to 15V; (7)operating temperature:-25 to 60℃; (8)storage temperature:-40 to 100℃.
Features
TCD132D features: (1)number of image sensing elements:1024; (2)image sensing element size:14um by 14um on 14um centers; (3)photo sensing region:low dark current pn photodiode; (4)clock:3 input pulses 5V; (5)internal circuit: clamp circuit(for optical black level reference), sample & hold circuit, pre-amplifier; (6)package:22 pin cerdip.
Diagrams

| Image | Part No | Mfg | Description | ![]() |
Pricing (USD) |
Quantity | ||||
|---|---|---|---|---|---|---|---|---|---|---|
![]() |
![]() TCD132D |
![]() Other |
![]() |
![]() Data Sheet |
![]() Negotiable |
|
||||
| Image | Part No | Mfg | Description | ![]() |
Pricing (USD) |
Quantity | ||||
![]() |
![]() TCD1001P |
![]() Other |
![]() |
![]() Data Sheet |
![]() Negotiable |
|
||||
![]() |
![]() TCD102D |
![]() Other |
![]() |
![]() Data Sheet |
![]() Negotiable |
|
||||
![]() |
![]() TCD1201D |
![]() Other |
![]() |
![]() Data Sheet |
![]() Negotiable |
|
||||
![]() |
![]() TCD1201DG |
![]() Toshiba |
![]() Image Sensors & Color Sensors Barcode Reader |
![]() Data Sheet |
![]() Negotiable |
|
||||
![]() |
![]() TCD1205D |
![]() Other |
![]() |
![]() Data Sheet |
![]() Negotiable |
|
||||
![]() |
![]() TCD1205DG |
![]() Toshiba |
![]() Image Sensors & Color Sensors 2448,14umx200um |
![]() Data Sheet |
![]() Negotiable |
|
||||
(China (Mainland))









