Product Summary
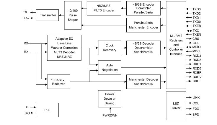
Operating with a 2.5V core to meet low-voltage and low-power requirements, the KSZ8721B is a 10BASE-T/100BASE-TX/FX Physical Layer Transceiver that uses MII and RMII interfaces to transmit and receive data. The KSZ8721B contains 10BASE-T Physical Medium Attachment (PMA), Physical Medium Dependent (PMD), and Physical Coding Sub-layer (PCS) functions. The KSZ8721B also has on-chip 10BASE-T output filtering.
Parametrics
KSZ8721B absolute maximum ratings: (1)Storage Temperature (Ts):–55℃ to +150℃; (2)Supply Referenced to GND:–0.5V to +4.0V; (3)All Pins:–0.5V to +4.0V.
Features
KSZ8721B features: (1)Single chip 100BASE-TX/100BASE-FX/10BASE-T physical layer solution ; (2)2.5V CMOS design; 2.5/3.3V tolerance on I/O ; (3)3.3V single power supply with built-in voltage regulator; Power consumption <340mW (including output driver current) ; (4)Fully compliant to IEEE 802.3u standard ; (5)Supports MII and Reduced MII (RMII) ; (6)Supports 10BASE-T, 100BASE-TX, and 100BASE-FX with Far_End_Fault Detection ; (7)Supports power-down and power-saving modes ; (8)Configurable through MII serial management ports or via external control pins.
Diagrams

| Image | Part No | Mfg | Description | ![]() |
Pricing (USD) |
Quantity | ||||||||||||||
|---|---|---|---|---|---|---|---|---|---|---|---|---|---|---|---|---|---|---|---|---|
![]() |
![]() KSZ8721B |
![]() |
![]() IC TXRX PHY 10/100 2.5V 48-SSOP |
![]() Data Sheet |
![]()
|
|
||||||||||||||
![]() |
![]() KSZ8721B TR |
![]() |
![]() IC TXRX PHY 10/100 2.5V 48SSOP |
![]() Data Sheet |
![]()
|
|
||||||||||||||
![]() |
![]() KSZ8721BI |
![]() |
![]() IC TXRX PHY 10/100 2.5V 48SSOP |
![]() Data Sheet |
![]()
|
|
||||||||||||||
![]() |
![]() KSZ8721BA4 TR |
![]() |
![]() TXRX 10/100 3.3V 48-SSOP |
![]() Data Sheet |
![]() Negotiable |
|
||||||||||||||
![]() |
![]() KSZ8721BA4 |
![]() |
![]() TXRX 10/100 3.3V 48-SSOP |
![]() Data Sheet |
![]() Negotiable |
|
||||||||||||||
![]() |
![]() KSZ8721B-EVAL |
![]() |
![]() BOARD EVALUATION FOR KSZ8721B |
![]() Data Sheet |
![]() Negotiable |
|
||||||||||||||
![]() |
![]() KSZ8721BI TR |
![]() |
![]() TXRX PHY 10/100 2.3.3/5V 48-SSOP |
![]() Data Sheet |
![]()
|
|
||||||||||||||
![]() |
![]() KSZ8721BL TR |
![]() |
![]() IC TXRX PHY 10/100 3.3V 48LQFP |
![]() Data Sheet |
![]()
|
|
||||||||||||||
(China (Mainland))











